Автомобили с выгодой до 40 % - в нашем телеграм-канале   Перейти

DAIHATSU HIJET TRUCK 2015 г., лот № 11040

Статус выставлен на аукцион Лот 11040 Аукцион AUCNET Дата аукциона 27.10.2025
Год выпуска2015 Пробег 173 000 км КузовS510P Комплектация CAMPING CAR
Объем660 сс Трансмиссия Автомат Привод 4WD Оценка3.5
Стартовая цена авто на аукционе 500 000 ¥

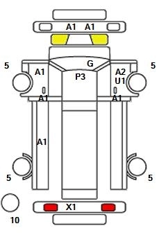
Аукционный лист

А1Маленькая царапина
А2Царапина
А3Большая царапина
Е1Небольшая вмятина
Е2Несколько небольших вмятин
Е3Много небольших вмятин
U1Маленькая вмятина
U2Вмятина
U3Большая вмятина
W1Ремонт/покраска (едва обнаружимые)
W2Ремонт/покраска (заментные)
W3Ремонт/покраска (очень заментные, должно быть перекрашено)
S1Малозаметная ржавчина
S2Ржавчина
С1Коррозия
С2Заметная коррозия
PКраска отличается от оригинала
HКраска ухудшилась Х Элемент требует замены
XXЗамененный элемент
B1Маленькая вмятина с царапиной (размером с большой палец)
B2Вмятина с царапиной (размером с ладонь)
В3Большая вмятина с царапиной (размером с локоть)
Y1Маленькая трещина
Y2Трещина
Y3Большая трещина
X1Маленькая трещина на ветровом стекле (приблизительно 1 см)
RВосстановленная трещина на ветровом стекле
RXВосстановленная трещина на ветровом стекле (требует замены)
ХТрещина на ветровом стекле (требует замены)
GСкол на стекле (возможна трещина)
Показать все

Полная стоимость авто

Курс валют ЦБ на сегодня: 1$ - 80,9713₽ 100¥ - 53,0542₽

Курс валют в коммерческих банках: 1$ - 82,11₽ 100¥ - 56,00₽
Торги по автомобилю еще не проведены и финальная стоимость не известна

Средняя стоимость автомобиля во Владивостоке со всеми расходами:

728 217 ₽

Стоимость авто на аукционе:

280 000 ¥

Доставка по Японии

56 000 ₽ 100 000 ¥

Фрахт

33 600 ₽ 60 000 ¥
* Фрахт (плата за перевозку авто морским путём из Японии во Владивосток):- 60 000 ¥. 
Суда закрытого и открытого типа, сроки 3-4 недели, качественная фото опись.
Для перевода йен в рубли взят средний курс банков г. Владивостока

Оформление автомобиля по прибытию во Владивосток

75 000 ₽
* Оформление автомобиля по прибытию во Владивосток: (75 000 рублей)
- получение сопроводительных документов на авто;
- погрузочно-разгрузочные работы;
- хранение автомобиля на складе временного хранения - 5 дней;
- подготовка и подача таможенной декларации; 
- услуги таможенного брокера;
- прохождение лаборатории (получение СБКТС и ЭПТС);
- получение ЭПТС;
Стоимость может меняться, в зависимости от причала выгрузки судна

Комиссия компании ООО "Икигай Авто"

90 000 ₽
  • консультация;
  • поиск и подбор автомобиля в Японии;
  • организация приобретения автомобиля;
  • сопровождение сделки по приобретению авто с момента выбора до передачи авто Клиенту.

Размер комиссии зависит от стоимости автомобиля.

Таможенные платежи:

188 417
  • Сборы за таможенное оформление: 2 134
  • Пошлина (на физ.лицо): 186 283

Утилизационный сбор:

5 200
Японская частьиены (¥)рубли (₽)
Цена на аукционе 280 000
Расходы в Японии 60 000 33 600
Российская частьдоллары ($)рубли (₽)
Разбор авто и Фрахт 1 800 147 798
Таможенная чистка 150 000
Комиссия 30 000
Эвакуатор с таможни 4 500
Сборка 20 000
Японская частьиены (¥)рубли (₽)
Цена на аукционе 280 000
Расходы по Японии 100 000 56 000
Российская частьдоллары ($)рубли (₽)
Разбор авто и Фрахт 1 800 147 798
Таможенная чистка 150 000
Комиссия 30 000
Эвакуатор с таможни 4 500
Сборка 12 000